Процес виготовлення пристрою

Саморобна конструкція для викачування меду володіє відмінною якістю і міцністю. Зробити його нескладно. Конструкція являє собою своєрідний чан. Діаметр досягає 890 мм, а висота дорівнює 700 мм.
Щоб змайструвати таке обладнання, треба скористатися оцинкованим залізом. Форма конусоподібна, а дно – увігнуте. На зовнішню частину кріплять обручі, всередину монтують металеву клітку, яка притискає хрестовину на дні.
Алгоритм виготовлення своїми руками:
- зовнішня частина чана оснащується обручами;
- металеву клітку встановлюють всередину, щоб вона щільно прилягала до дна;
- розміщують склянку, містить кулька зі сталі, щоб могли триматися стрижні;
- в клітинну вісь вкручують стрижень, який можна зробити з допомогою водопровідної труби;
- на верхівці чана розміщується трубка із заліза у 30 міліметрів, щоб мед не міг стікати по осі.
Слід зазначити, що така медогонка набагато краще хордиальной. Вона працює ефективніше, блок управління набагато зручніше і зрозуміліше.
За своїм зовнішнім виглядом цей прилад нагадує звичайну центрифугу, яку раніше використовували для віджиму сирого білизни. Він являє собою бак, виконаний у формі циліндра з краном в нижній частині: він потрібен для зливу вигнані меду.
Конструкція приладу досить проста – в основі лежать дві головні частини: касетний барабан і бак з металу.
Бак виконується з металу: найбільш часто зустрічається матеріал — це алюмінієві сплави різного роду. Як говорилося вище, корпус має правильну циліндричну форму, а ось днище – форму конуса, чиє вістря спрямоване до верхньої частини корпусу.
У цій же частині розташовується і підп’ятник*, на якому закріплена нижнім кінцем вертикальна вісь. Верхній край осі закріплюється в приводі пристрою.
Вертикальна вісь потрібна для того, щоб закріплювати на ній барабан (або коробку), в яку будуть поміщатися стільники.
Для забезпечення безпечної роботи та запобігання випадіння рамок в процесі викачування меду вісь конструюють з такими розмірами, які будуть перевершувати розмір рамок, а внутрішню і зовнішню частину барабана обшивають сіткою з металу.
Медогонка радіальна влаштована таким чином, що касети розташовані по радіусах колу. Так, для того, щоб відкачати мед потрібно зняти забрус з двох сторін, а після помістити в рамки вирізах нижніх кіл.
Коли пристрій буде заповнено, можна приступати безпосередньо до відкачування меду: закриваємо кришки і наводимо медогонку в рух через ручний або електричний привід. Щоб домогтися кращого результату, починати обертання слід на низькій потужності, а до кінця циклу збільшувати її до максимуму.
Медогонка: існуючі різновиди
Сьогодні у пасічника нехай невеликий, але вибір є. Для відкачування меду можна використовувати як саморобні пристрої, так і виробничі верстати. Проте всі медогонки умовно можна розрізнити на два види: радіальні і хордиальные.
Назви таких апаратів визначені конструктивними особливостями і розташуванням фіксуючого елемента всередині. Так, радіальні медогонки оснащені вертикальними отворами для рамок (по радіусу), а хордиальные – горизонтальними. При цьому є як переваги, так і недоліки обох варіантів.
Принцип роботи медогонки
Незалежно від того, який саме вид механізму ви виберете, принцип його роботи буде полягати в наступному: на першому етапі бджоляр за допомогою спеціального інвентарю або просто розпеченого ножа розкриває стільники і встановлює їх в касети.
Після цього запускається обертальний момент – вручну або за допомогою електричного приводу. І в тому, і в іншому випадку обертання починається з невеликої кількості обертів та поступово збільшується приблизно до 80 в хвилину.
Дотримуватися невисоку швидкість обертання необхідно з тієї причини, що з зростанням відцентрової сили комірки будуть розриватися і вдавливаться в сітку, встановлену на барабані.
Коли ротор обертається, виникає відцентрова сила, яка і сприяє вихлюпування меду зі стільникових комірок.
Випліскуючи на корпус, мед поступово починає стікати в нижню частину центрифуги, а звідти – вже у підготовлені ємності через кран.
Щоб зробити металевий бак, необхідно створити відповідний алюмінієвий сплав. Медогонка, зібрана своїми руками містить на дні відповідний бак, в якому є зливний кран для медової продукції. Для її виготовлення знадобиться креслення.
Медогонка функціонує наступним чином:
- за допомогою відповідної вилки здійснюється роздрук меду;
- продукція розміщується в касету;
- дана конструкція оснащена спеціальною рукояткою, обертання якої забезпечує збільшення швидкості;
- завдяки відцентровій силі мед потрапляє в бак і, стікаючи, виявляється на дні бака;
- дно облаштовується зливним краном, щоб продукція могла витікати при його відкритті.
Медогонка радіальна
Медогонка – це механізм відцентрового дії для відкачування меду із стільників.
Медогонки слід віднести до найважливішої частини пасічного обладнання перш за все тому, що від технології відкачування меду залежить його якість, збереження ульевых рамок.
Крім того, сучасні медогонки полегшують праця бджоляра і заощаджують час.
Хто винайшов медогонку?
Медогонка вперше була винайдена в 1865 році австрійським бджолярем Ф. Грушка. Франц Грушка – італієць з Частці (поблизу Венеції) народився у 1819 році, помер у Венеції в травні 1888 року. Є відомості, що за національністю Грушка був чех.
Його винахід почалося з курйозного випадку. В один із днів Грушка відібрав з вулика кілька стільників з неповністю закриті осередками і поклав їх в корзину. Його син, ніс кошик, почав, бавлячись, крутити її навколо себе.
Винахід медогонки одержало швидке поширення. У поєднанні з впровадженням рамкового вулика, винахід медогонки було особливо важливо, так як вирішувалися багато проблем: з’явилася можливість отримувати якісний відцентровий мед і зберігати стільники, які раніше м’яли під пресом, отжимавшим мед.
Типи медогонок
Після винаходу медогонки пройшло 146 років. За цей час з’явилося стільки конструкцій, що просто не злічити.
Типів конструкцій медогонок не один десяток, але всі вони складаються із зовнішнього бака, внутрішнього барабана – ротора, в який вставляють рамки з медом, і приводу. Найменша медогонка розрахована на відкачування всього двох медових рамок. Є високопродуктивні медогонки, здатні відкачати за один прийом 50 і більше рамок.
Медогонки бувають двох типів: радіальні і хордиальные.
Медогонки класифікуються по розташуванню касет, в які вставляють роздруковані стільники. У радіальних медогонок касети розташовані по радіусах кола корпусу.
Переваги радіальної медогонки перед хордиальной
1. При відкачуванні меду на великий радіальної машині досягається вдвічі більша продуктивність у порівнянні з хордиальной медогонкой.
2. Медогонка радіальна з моменту пуску до зупинки працює без нагляду. Під час роботи радіальної медогонки бджоляр може займатися іншою справою, наприклад, роздруковувати стільникові рамки.
3. Медогонка радіальна відкачує мед майже досуха, чого не можна досягти на хордиальной медогонці.
4. У радіальній медогонці основне зусилля при обертанні ротора направлено вздовж площини стільників до верхнього бруска, а не перпендикулярно поверхні стільників, як в медогонках старого типу. Тому стільники майже не ламаються.
5. На радіальних медогонках, вміщуючих 45 стільників, можна відкачувати мед з воскових кришечок – забрусу, накопиченого протягом робочого дня. Видалення меду з кришечок шляхом розтоплення їх разом з медом або шляхом проціджування через ситечко вимагає багато часу і не дає хороших результатів.
6. З радіальної машини набагато легше виймати стільники після відкачки, так як тиск припадає на верхній брусок ульевой рамки, який не може приклеїтися до барабану.
7. У радіальній медогонці обертається тільки барабан з роздрукованими сотами, всі інші деталі механізму мають жорстке кріплення, що забезпечує міцність і надійність.
Медогонка хордіальна
У хордиальных медогонках касети розташовані по хордам колу медогонки, тобто боком до стінки бака. Цей тип медогонок найбільш поширений на невеликих присадибних пасіках. Та й взагалі, на мій погляд, хордиальные медогонки переважають на пасіках Росії.
Хордиальные медогонки діляться на перекидні або оборотні, тобто з рухомими “перелистываемыми” касетами і необоротні, у яких рамки доводиться щоразу виймати з касет і вставляти іншою стороною.
З технічної точки зору хордиальные медогонки мають ряд істотних недоліків:
- у хордиальной медогонці першу сторону доводиться відкачувати на меншій швидкості, щоб не зламати сот під вагою меду з зворотного боку, потім перевернути їх і відкачати мед з іншого боку, а потім знову повернути стільники в початкове положення і провести завершальну роботу. Все це потребує праці та часу;
- у хордиальной медогонці основне зусилля при обертанні ротора спрямовано перпендикулярно поверхні стільників, тому стільники не тільки ламаються, але і нерідко вдавлюються в сітку касет настільки, що при витяганні рамок стільники можуть бути зламані або деформовані;
- медогонка хордіальна вимагає постійного обслуговування однією людиною. А якщо на пасіці трудиться бджоляр в однині, то поки він роздруковує стільники, медогонка простоює;
- при відкачуванні меду на хордиальной медогонці в русі знаходиться не тільки барабан, але і механізм повертання касет, самі касети, важелі і привід. Всі ці сполуки зношуються і потребують постійного догляду;
Принцип дії медогонки
Призначення медогонки – за рахунок відцентрової сили витягти мед із стільників.

Медогонка — частина пасічного інвентарю, що використовується для отримання меду центрифугуванням. Принцип дії медогонки простий: запечатані бджолами стільників з медом спочатку роздруковують за допомогою спеціального бджільницького ножа або виделки.
Роздруковані рамки з медом вставляються в касети. При обертанні ротора з касетами під впливом відцентрової сили мед викидається на внутрішні стінки корпусу медогонки і стікає на конусне дно. Далі мед зливається через кран і проціджується в тару.
Медогонка 4-х рамкова
Найпоширеніші 4-х рамкові медогонки. Особливо цінуються ті, у яких касети оборотні.
Дана властивість значно полегшує відкачування меду, а головне, прискорює процес. За рахунок цього продуктивність праці збільшується на 20%. Для кріплення ротора використовується шарикопідшипник.
Діаметр бака 628 мм, висота 765 мм, кишеню вміщує до 50 кг меду. Вага медогонки 4-х рамкової – 29 кг
Привід для медогонки
З приводу медогонки діляться на ручні і електричні. Під час кочівлі в якості джерел енергії для електричних медогонок застосовують в основному акумулятори, хоча вже є досвід застосування малих електростанцій і сонячних батарей.
Для змащення рухомих частин приводу ручного медогонки зазвичай застосовують мед.
Великим недоліком у російських медогонок є шестерна передача для обертання ротора з касетами. Вони гримлять, часто ламаються і тяжко крутити ручку.
Я сам переробив свою медогонку на привід з двома шківами і клиновидним ременем. Дуже задоволений. Конструкція проста, надійна й безшумна.
Касети для медогонки
Касета – важлива деталь медогонки, так як саме в касету вставляється роздрукована рамка для витягання меду. У виготовленні касет використовується якісна зварна оцинкована сітка.
У старих конструкціях касет застосовувався алюміній, і багато деталей часто виходили з ладу, доводилося часто міняти заклепки і деталі кріплення. Більш надійними є касети, виготовлені з нержавіючої сталі.
Заслуговують на увагу сучасні універсальні касети з металопластику для медогонок з універсальним кріпленням, для всіх інших видів медогонок, .
Медогонка – механізм дорогий, але його не можна мати один на три-п’ять пасік. Щоб не допустити перенесення хвороб бджіл, кожна пасіка повинна мати власну медогонку.
Після завершення відкачування меду апарат треба промити, продезінфікувати, висушити на сонці. Зберігати медогонку до наступного сезону необхідно в сухому складі, дбайливо укривши її пологом від пилу.
Вітаю, бджолярі-професіонали і любителі!
У цій статті я хочу розповісти Вам як зробити медогонку своїми руками. До статті додаються фото, пару креслень і кілька відео. Взагалі, друзі-пасічники, всі ми прекрасно знаємо що таке медогонка, наскільки важливий цей механізм у нашій нелегкій роботі.
Впевнено можна сказати, що найбільш трудомісткою і найважчою частиною роботи бджоляра є викачування меду. З незапам’ятних часів цей процес частково механізований — для полегшення праці використовуються, як правило, медогонка радіальна.
Конструкція цього апарату за останні 50-100 років мало чим змінилася, але я хочу навести кілька варіантів того, як її можна зробити або удосконалити вже наявну.
Більше 80% медогонок, використовуваних пасічниками-аматорами так і професіоналами теж, це радіальні медогонки бочкового типу з ручним приводом, саме про них і піде мова. Такі медогонки бувають різного розміру, залежно від кількості заряджаються за один прогін рамок з сотами, але особисто я менше 120 см в діаметрі і 130-150см у висоту не зустрічав.
Названі габарити відносяться саме до розміру бочки, яка і служить основою будь радіальної медогонки. Кожна така медогонка несе у своїй основі принцип роботи центрифуги: за рахунок розкручування касетного барабана для рамок створюється відцентрова сила, яка і змушує мед залишати стільники.

З технічної точки зору все просто, але з технологічної, медогонка своїми руками — це вкрай не просто.
Для цього на місці виробництва передбачена спеціальна оснащення, інструмент та матеріали. Природно, так як Ви цим не займаєтеся професійно всього цього немає, але є нестримне бажання зробити медогонку самому, заощадивши при цьому гроші на її покупку.
Самому зробити її можна реально краще, Чим пропоновані на ринку з шаленим цінами варіанти відверто слабенький якості.
Для того щоб починання увінчалося успіхом необхідно мати базовий набір інструментів слюсаря і володіти достатнім навиком в роботі з металевими виробами. Чи складно це? — Так. Чи Реально ? — Звичайно так!
Не варто намагатися зробити медогонку з нуля, якщо Ви не володієте достатнім навиком роботи з металом і найпростішими механізмами, краще взяти в підмогу спеціаліста або просто досвідченого слюсаря.
Перед початком роботи потрібно визначиться з базовим кресленням, за яким і буде робитися медогонка, якщо потрібно — доопрацювати його (наприклад, у разі необхідності забезпечення електроприводом).
Види приладів
На сьогоднішній день існує досить велика кількість апаратів, що розрізняються за ключовими параметрами, що дозволяє пасічнику підібрати апарат, максимально зручний для використання.
Перший критерій, який ділить апарати на групи – це кількість рамок, яке можна завантажити в центрифугу за один раз. Найпопулярніші – це пристрої з двома, трьома і чотирма рамками. Якщо ж використання даного механізму передбачається на пасіці з виробництвом меду в промислових масштабах, то мова йде вже про центрифугах з двадцятьма і навіть п’ятдесятьма касетами.
Наступна характеристика – це тип розміщення рамок. Так, розрізняють пристрої з радіальним і хордиальным розміщенням. Перший тип характеризується розміщенням брусками рамок на стінках по круговому радіусу.
Особливу властивість пристроїв такого типу полягає в тому, що при їх використанні мед вилітає відразу з двох сторін, тобто повторна завантаження сот не вимагається. Загальний час роботи такої машини – близько 15 хвилин.
Хордиальные ж пристрої припускають розміщення сот по хордам. При використанні такого типу приладу мед буде выкачиваться тільки з одного боку. Таким чином, вам потрібно перевернути стільники і запустити процес відкачування заново.
На обробку одного боку потрібно близько 3 хвилин.
Ще одна відмітна ознака приладів – це тип сили, з допомогою якої вони приводяться в дію. Розрізняють прилади з ручним, електричним і механічним приводом.
Найбільшою популярністю у бджолярів користуються електричні і радіальні механізми – саме про них більш детально розповімо нижче.
Особливості конструкції
Найменша медогонка може обробляти тільки 2 рами (хордіальна), виробнича техніка здатна занурити більше 50 рам одночасно. До останніх відноситься радіальний метод викачування меду.
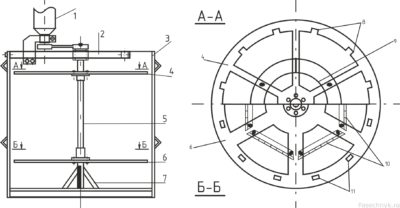
Медогонка радіальна являє собою чан округлої форми, який може бути виконаний як з нержавіючої сталі, так і з оцинкованого заліза. Якщо виробничий апарат, то його розміри приблизно 880 мм (діаметр) і 690 мм (висота). Саморобні апарати можуть бути різних розмірів, залежно від креслення.
Конусоподібний вигнуте дно зміцнюється з зовнішньої сторони чана обручами для фортеці. У внутрішній частині сконструйована металева сітка з товстих прутів (щоб не гнулися під вагою меду) на вертикальній осі, яка, в свою чергу, проходить через вершину дна під чаном.
Вісь кріпиться на хрестовину з заліза. Сталевий стрижень кріпиться за допомогою металевого склянки (на дні конструкції). Вертикальна вісь клітини являє собою водопровідну трубку, діаметром 2,5 див
Металева клітка
Наполегливі кола
Діаметр верхнього і нижнього наполегливої кола — 770 мм., а от діаметр великого вырезного кола на 50 мм менше. Внутрішнє відстань між виступами в середньому 60 мм. Нижня частина чана здатна утримувати близько 100 кілограм меду, через спеціальну трубку можна зливати відкачаний мед. Тому медогонка постійного контролю з боку пасічника не вимагає.
Шарикопідшипник
В пластинці, яка приурочена болтами до поперечці чана, прикріплені підшипники. Запуск процесу обертання здійснюється шляхом автоматичного або ручного приводу з допомогою вертикальної шестерні з ручкою (на горизонтальній осі). Якщо розраховується 250 оборотів в хвилину, то співвідношення шестерень повинно бути 1 : 3.
Висновок меду
Висновок скачаного і скупчення на дні меду здійснюється за допомогою спеціального крана з січною засувкою, розташований біля дна втулка. Щоб уникнути просочування меду, чан повинен бути перевірений на наявність швів і їх цілісності. Всі шви додатково пропаяні з зовнішньої сторони, або чан литий.
Кришки
Верхня частина медогонки закривається спеціальними кришками напівкруглої форми, які прикріплені до центральної пластині чана. Кришки для міцності мають зігі (частіше по периферії). Щоб уникнути відкриття верхніх кришок в процесі качки, вони замикаються дужкою, яка охоплює у верхній частині шестерню, але не заважає руху барабана.
Качати мед без медогонки дуже складно. У рідкісних випадках людині вдається зробити це самостійно. Навіть за наявності досвіду у розкритті сот та отриманні нектару на це іде багато сил, часу, в процесі втрачається велика кількість продукції.
Ручна робота набагато складніше, тому бажано віддати перевагу електричний пристрій. Важливо правильно використовувати схему контролю даного пристрою. Для виготовлення приводу потрібно схема, яка рекомендує виконати наступні кроки:
- щоб зробити диск на стулице, вам знадобиться коло текстолітовий, товщина якого не менше десяти міліметрів;
- потім необхідно встановити приводний диск, знявши з ротора шків;
- підійде будь-електродвигун;
- роль вмикача може виконувати реле, зняте з пральної машини;
- щоб регулювати обороти, скористайтесь реостатом від щитка. Щоб обороти були швидкими і безпечними, використовуйте ніхромовий товсту спіраль;
- для закріплення двигуна зробіть кронштейн, який рухається вертикальним чином.
Даний привід має такі переваги:
- швидка викачка важких рамок;
- потужність — близько 90 Вт;
- можливість налаштовувати час, обороти і режим;
- легке виготовлення;
- економічність.
Центрифуга є незамінним приладом для будь пасіки. Її можна купити в будь-якому спеціалізованому магазині. Досвідчені пасічники рекомендують конструювати цей пристрій своїми руками. Так медогонка виходить більш якісною і надійною.
- для початку необхідно зняти забрус;
- рамки потрібно встановити у вирізи, щоб брус міг упертися зверху;
- після заповнення медогонки кришка закриється, і розпочнеться етап функціонування завдяки ручного приводу. Дуже надійними вважаються конструкції з електроприводом;
- спочатку руху пристрою не дуже швидкі, поступово вони прискорюються;
- у процесі обертання мед вилітає з різних сторін;
- швидкість збільшується до максимального показника;
- далі необхідно зупинити медогонку і відкрити кришку, щоб дістати рамки з сотами;
- у тому випадку, якщо рамки містять величезну кількість меду, їх можна прокачати повторно.
Переваги
Цей пристрій має кілька головних переваг:
- рамки ламаються досить рідко;
- медогонка не впливає на стільники, а також не може їх зруйнувати;
- конструкція здатна відкачати близько трьохсот рамок за 12 годин.
Однак прогрес не стоїть на місці, і сьогодні вже в ходу такі апарати, на яких можна відкачати мед з 200 рамок протягом 9 годин. Це медогонка радіальна з електричним приводом, під час роботи якої пасічник навіть може займатися сторонніми справами.
Види медогонок
За принципом дії медогонки поділяються на два види:
- Хордіальна – рамки вставляються в касети, розташовані по хордам колу головного бака. Зрозуміло, що більше 4 рамок в таку конструкцію не вставиш. Тому цей вид апаратів поширений на приватних невеликих пасіках;
- Радіальна – касети розташовані по колу на радіусах колу головного бака. Чим більше об’єм, тим більше касет може вмістити конструкція. Таке розташування, крім кількісного переваги, володіє цілим рядом достоїнств. Саме тому медогонка радіальна поступово витісняє хордиальную і навіть запущена в промислове виробництво. Електричний привід дозволяє проводити відкачування меду з величезної кількості рамок в короткі терміни і без фізичних зусиль.
Важливо! Хоча відкачування меду відбувається в радіальній медогонки з двох сторін, подекуди мед може залишитися. У цьому випадку рамку слід закласти другий раз. Якщо рамка нова, необхідно після зачищення забрусу перев’язати її дротом, щоб оберегти її від можливої поломки.
Процес медогона
Переваги
Щоб оснастити конструкцію електроприводом на 24 рамки, потрібно скористатися двигуном з постійним струмом. Завдяки йому здійснюється управління оборотами змін напруги. Електроприводом оснащують радіальну медогонку для того, щоб вона була електричної.
За бажанням можна використовувати двигун-редуктор, призначений для чищення скла. У нього є два швидкісних режими, тому не знадобиться регулятор оборотний. Для запуску електричного приводу розгортають барабан.
Щоб заощадити, необхідно скористатися невеликою кількістю різноманітних деталей. Металевий прут можна приварити до шестірні, щоб насадити шків. Це зумовить регулювання обертальних обертів.
Харчування буде надходити від автомобільного акумулятора. Для оснащення пристрою для викачування меду електричним приводом, можна скористатися трансформатором. Якщо у вас вистачить досвіду і навичок, можете розробити блок керування швидкостями своїми руками.
Якщо ви не знаєте, для чого потрібна ця центрифуга, вам слід ознайомитися з нею детальніше. Медогонки бувають хордиальными, радіальними, оснащені електроприводом. Радіальна містить чотири касети, в процесі їх розміщення важливо врахувати радіус.
Її застосовують тоді, коли стільникові осередки розташовані вертикально. Особливою популярністю користується хордіальна центрифуга, яка дозволяє качати продукцію з роздрукованих рамок. Застосовуються різні параметри. За бажанням можна качати мед з надставки і рамки.
Що стосується центрифуги Грановського, то з нею можна ефективно качати мед. Вона відрізняється своїми параметрами, застосовується в різних цілях. Її принцип роботи полягає в тому, що вона дозволяє отримати найбільшу кількість гарної продукції.
Також важливо знати, які є конструктивні складові:
- двигун;
- вісь;
- підставка;
- барабан;
- касети для сот.
Пристрій можна спорудити самостійно, використовуючи чітку схему, яка має всі розрахунки і розміри. Низ барабана оснащений спеціальним краном, який можна знімати. Його роль – злив свіжого нектару.
Слідкуйте за тим, щоб двигун був захищений від різних комах. З цією метою можна скористатися гратами, кришкою.
Дії бджоляра повинні бути послідовними. Спочатку підготуйте рамку, роздрукуйте її. Не потрібно поспішати при контакті з нею, інакше можна зіпсувати готову продукцію. Щоб виконати якісні зрізи, важливо користуватися гострими, попередньо підігрітими ножами. Рамку з сотами обробляють з усіх боків.
Типи медогонок
- 1. Процес відкачування
- 2. Особливості будови апарату Грановського
- 3. Виготовлення
- 3.1. Процес виготовлення корпусу
- 3.2. Збірка касет
- 3.3. Спорудження електроприводу
Відкачування меду є найбільш копіткої і трудомісткою роботою на пасіці. Для полегшення цього процесу бджолярами використовується спеціальне пристосування, зване медогонкой.
Її можна придбати або, при наявності певних навичок, зробити власноруч.
Медогонка своїми руками – це непогана ідея, здатна зменшити витрати початківця бджоляра на придбання інвентарю, оскільки даний агрегат стане однією з основних його складових. Відкачування великого обсягу продукту без використання медогонки – процес досить складний і вимагає серйозних витрат часу, крім того, при цьому втрачається значна кількість меду.
Процес відкачування
Відкачування меду йде за рахунок впливу відцентрової сили і відбувається наступним чином:
- За допомогою спеціального ножа стільники роздруковуються.
- Потім вони вставляються в касети, які утримують рамки під час відкачування.
- В результаті обертання ротора мед викидається на внутрішню поверхню апарату і стікає на дно, а звідти потрапляє в зливний отвір.
Відкачування меду в хордиальной медогонці
Конструкція медогонки незалежно від матеріалу в основному стандартна:
- внутрішнє пристрій для закріплення рамок і електричного приводу;
- зовнішня ємність для збору меду.
В залежності від виду кріплення рамок існує два виду: медогонка радіальна і пристрій хордиального типу. Як видно з назви, у першій конструкції рамки розташовуються по радіусу, а в другій – по хордам колу.
У Росії найчастіше використовується хордіальна модель. Обидва варіанти мають право на існування, але медогонка радіальна простіше в збірці, а хордіальна – ефективніше. Розмір апарата залежить від величини рамок. Оптимальним вважається радіус пристрою в 65 див.
Для новачків досить медогонки, розрахованої на 3-4 рамки.
За відгуками пасічників, для початківців краще всього підійде медогонка Грановського. Вона легка в експлуатації, універсальна і може використовуватися навіть для обслуговування великих пасік.
Переваги агрегату:
- Медогонка Грановського чудово підходить для рамок вулика Дадана, вона складається з знімного приводу і касет, що регулюються вручну. Прилад дозволяє налаштовувати швидкість і час відкачування меду. Кустарна медогонка за більшістю параметрів не поступається заводський, якщо зроблена з дотриманням правил складання.
- Корпус моделі виготовлений з нержавіючої сталі, а касети для встановлення рамок розташовуються традиційно. В процесі відкачування меду вони переходять в хордиальное положення, що скорочує процес відкачування в кілька разів. Гальмування пристрою плавне. Медогонка Грановського має привід, розташований в нижній частині бачка.
- До того ж пристрій невеликої ваги і розміру, що важливо при транспортуванні і миття. Медогонка Грановського володіє високою продуктивністю, медовий «кишеню» розрахований на 55 літрів продукту. Під час роботи рамки не деформуються і не ламаються.
Огляд медогонки Грановського
Але, за словами бджолярів, медогонка Грановського має наступні недоліки:
- відсутні ручки для перенесення пристрою;
- ніжки агрегату під час роботи нестійкі і при використанні в польових умовах потребують фіксації;
- медогонка Грановського має занадто важким металевим краном, який непросто зміцнити;
- матеріал бака тонковат, а стінки не мають ребер жорсткості.
Тому при самостійному виготовленні пристрою необхідно врахувати всі ці моменти і застосувати відповідні матеріали. Також деякі бджолярі вважають незручним прикріплення приводу знизу.
Незважаючи на всі мінуси, медогонка Грановського користується великою популярністю, і має певні переваги щодо інших моделей. Її легко спорудити власноруч, використовуючи готові креслення.
Виготовлення
Медогонка своїми руками може бути виготовлена з будь-яких підручних матеріалів. Якщо раніше були популярні дерев’яні моделі, то зараз все частіше їх роблять з алюмінію і нержавіючої сталі. Ці матеріали, хоч і мають більш високу вартість, але і якість їх значно вище.
Давайте розберемося, як зробити медогонку самостійно з різних матеріалів:
- Нержавіюча сталь. Можна використовувати для переробки колишню у вживанні пральну машину барабанного типу з нержавіючої сталі, вона буде служити ящиком для рамок. Крім того, знадобиться кришка, а знизу отвір для стоку меду. Цей елементарний варіант підійде новачкам, завдяки простоті монтажу та обслуговування.
- Дерево і фанера. Така саморобна медогонка має вигляд дерев’яного восьмигранника, всередині якого обертається ротор з рамкою. Вона компактного розміру, легко розбирається і миється. Пристрій встановлюється на ніжки, що дозволяють підставити під кран ємність для збору меду. Володіє простим і швидким механізмом відкачування. Матеріал для медогонки повинен бути сухим і не смолистим. Також можна взяти бочку відповідного розміру і спростити виготовлення. Більш легку модель споруджують з фанери, скріплюючи цвяхами або клеєм.
- Алюміній. Для виготовлення пристрою з алюмінію досить підібрати ємність потрібної величини. Це може бути каструля, бочка або корпус пральної машини.
- Пластик. Існує можливість використовувати для агрегату бочку з високоміцного пластика. Це спростить процес виробництва, і знизить витрати.
Медогонка хордіальна
Збірка касет
Для виготовлення касет, в основному, використовується якісна нержавійка, в деяких випадках її можна замінити іншим матеріалом.
З дроту або прутів робиться сітка (або купується готова), потім з неї, за допомогою заклепок і куточків, споруджується «кишеню», в який вставляється рамка. Останні повинні легко входити в касети, щоб уникнути деформації.
Медогонка радіальна робиться трохи легше, Чим з хордиальным розташуванням касет.

Електропривод для медогонки буде сприяти оптимальному відкачування меду. Для того щоб спорудити привід, необхідний невеликий електричний двигун з потужністю близько 90 Вт. Щоб уникнути потрапляння бджіл, його треба захистити сіткою. Для вимикача підійде реле пральної машини.
Як працює електропривод на саморобній медогонці
Крім того, знадобиться реостат, його слід забезпечити ніхромового спіраллю. Потім споруджується кронштейн, який буде рухатися у вертикальному напрямку. Знімається з ротора шків і споруджується приводний диск. Розміщення двигуна може бути як вертикальним, так і горизонтальним.
В процесі виготовлення медогонки можна експериментувати і покращувати її конструкцію за власним розсудом, пристосовуючи для своїх потреб. Для її фарбування слід використовувати фарбу по металу. При виробництві пристрою не можна застосовувати оцинковані деталі, це може вплинути на якість меду.
Види медогонок
Займаючись бджільництвом як хобі, не переслідуючи комерційних цілей, можна обійтися без медогонки. В цілях економії можна брати її у друзів або сусідів, можна купити пристрій в спеціалізованому магазині, але кращим рішенням стане виготовлення медогонки своїми руками. Зробити це не так складно, як може здатися на перший погляд.
При наявності декількох вуликів, не кажучи вже про промисловому виробництві меду, необхідність медогонки очевидна. Без неї не вийде якісно, швидко та в потрібному обсязі відкачати зібраний мед у стільниках.
- Продуктивність радіальної медогонки навіть з ручним приводом як мінімум в 2 рази більше, Чим у хордиальной;
- На радіальної медогонці рамки викачуються майже досуха, чого неможливо досягти на апараті з хордиальной конструкцією;
- Головне зусилля під час роботи апарату направлено вздовж площини стільників, а не впоперек, як в пристроях хордиального типу. Це підвищує збереженість стільників під час роботи, поломок майже немає;
- На апаратах, розрахованих на 45 стільників, можлива відкачування меду з забрусу – кришечок стільників, які накопичилися під час робочого процесу. Це набагато підвищує ефективність, оскільки вручну робити таку роботу клопітно і затратно по часу;
- У хордиальных конструкціях відбувається контакт стільників з елементами медогонки, що може служити причиною розвитку гнильних процесів, у радіальних пристроях ця можливість виключається;
- Рамки під час процесу відкачування не приклеюються до барабану, а значить, їх легко витягувати з апарату.
- Медогонки, які можуть вмістити в себе 45 стільників, без зусиль справляються з відкачуванням меду з забрусу — воскових кришечок, що нагромадилися за день. Це дуже зручно, адже ручні способи відкачування меду з забрусу малоефективні і вимагають значних тимчасових витрат.
- При використанні машин великих розмірів на радіальної медогонці вдається досягти кращих результатів у продуктивності, Чим на хордиальной.
- В ході роботи обертанню піддається тільки барабан, інші деталі закріплені міцно і зовсім нерухомі. Це гарантує зносостійкість і міцність машин.
- Мед відкачують практично насухо, рамки залишаються в більшості випадків чистими. Такого результату можна добитися від хордиальных моделей.
- Під час роботи пристрою пасічнику немає необхідності контролювати процедуру — він може займатися своїми справами. Таким чином, створюється економія часу.
- Медогонка радіальна влаштована таким чином, що в процесі її роботи ви не ризикуєте пошкодити цілісність сот або поламати їх.
- Рамки в процесі відкачування меду не приклеюються до барабану, це означає, що витягти їх потім буде набагато простіше, Чим з хордиальных пристроїв.
Промислова медогонка радіальна
- Найголовніший елемент і опора нашої роботи — це креслення. На ньому необхідно зобразити всі деталі в правильному порядку, а також врахувати їх розміри. Крім того, на кресленні потрібно зобразити місця з’єднання деталей.
Якщо скласти креслення самостійно немає можливості, можна знайти в книгах по бджільництву або запозичити в тих, хто вже займався самостійним будівництвом медогонок.
- Потім переходимо до самих деталей медогонки. Головна деталь — це барабан, в якості якого підійде будь-яка бочка, виготовлена з міцного матеріалу. Краще всього вибирати бочку, місткість якої буде в межах 300-500 літрів, а діаметр 100-130 див.
- Також, в залежності від вашого вибору, знадобиться ремінна або шестерна пара.
- Підберіть міцний матеріал для кронштейнів і кріпильні елементи.
- Так як медогонку потрібно оснастити касетами, збираємо для них все необхідне. Знадобляться: рами касетного барабана, труби або куточки для касет, сітка для касет.
- Підберіть відповідний за розміром зливний вентиль.
- Обов’язковий елемент нашого пристрою — підшипники.
Виготовлення радіальної медогонки своїми руками
Медогонка з електроприводом своїми руками, процес відкачування меду
Процес відкачування
Особливу зручність використання електроприводу в тому, що з його допомогою можна контролювати і швидкість обертання, і його час. До того ж, в його конструкції завжди є перемикач, яким без особливих зусиль можна змінити напрямок обертання.

Ще один незаперечний плюс – це можливість забезпечення стабільної швидкості обертання за рахунок датчика швидкості. Примітно, що наповненість рамок ніяк не впливає на його роботу.
Гальмування ж з використанням електроприводу працює за електродинамічної схемою.
Перевагу електроприводу більшість пасічників віддають по простій причині – його використання дозволяє помітно скорочувати часові та трудові затрати, при цьому збільшуючи кількість готової сировини на виході.
Цільове призначення, рекомендації до експлуатації
Медогонка радіальна має безліч переваг, і крім високої ціни практично не має недоліків. Однак перед тим як визначитися і купити таку дорогу техніку, необхідно чітко поставити для себе цілі і завдання.
Якщо виробництво і видобуток меду планується в промислових масштабах (не менше 100 рам), то медогонка окупиться вже після двох, трьох відкачок. Якщо ж цільове призначення такого пристрою – виробництво меду для себе, а розміри пасіки досить скромні, то краще всього вибрати більш дешеві варіанти.
У ході експлуатації медогонки ручного приводу рекомендовано змащувати шестерні медом, попередньо обробивши та зачистивши їх від іржі, пилу та залишків минулого меду. Такий процес значно спрощує обороти шестерень, дозволяючи швидше відкачувати мед із заповнених сот.
Пасічник самостійно вибирає для себе зручне та вигідне пристрій для відкачування меду. Якщо мета – вийти на ринок з якісним натуральним продуктом, тоді і вибір медогонки очевидний.